Caracterísiticas técnicas

Apto para eslora de hasta
13.5 m. / 45 ft.
Terminación
Pulido espejo.

Accesorios

Catalina basculante

La principal característica de este accesorio es su movimiento basculante. Esto permite que al momento de bajar el ancla se acompañe la misma en su descenso evitando que se atasque en proa.

Fabricada en acero inoxidable de 3 mm. de espesor y rueda de resina acetal de 55 mm. de diámetro. Pernos, tornillos y ejes de acero inoxidable.

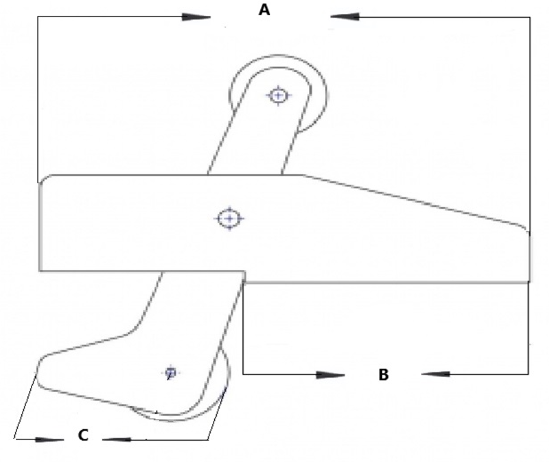
Medidas

Catalina basculante
A
B
C
D
E
Corta
340 mm
25 mm
110 mm
66 mm
60 mm
Larga
470 mm
37.75 mm
110 mm
66 mm
60 mm
Medidas catalina
Medidas catalina basculante